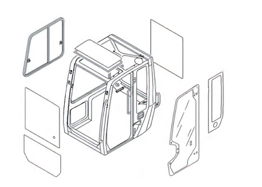
CABINAS Y VIDRIOS